Kontejnerový zvedák BRANO 15-00-CON-W/2,5t/1200mm
Kód: 26111Detailní popis produktu
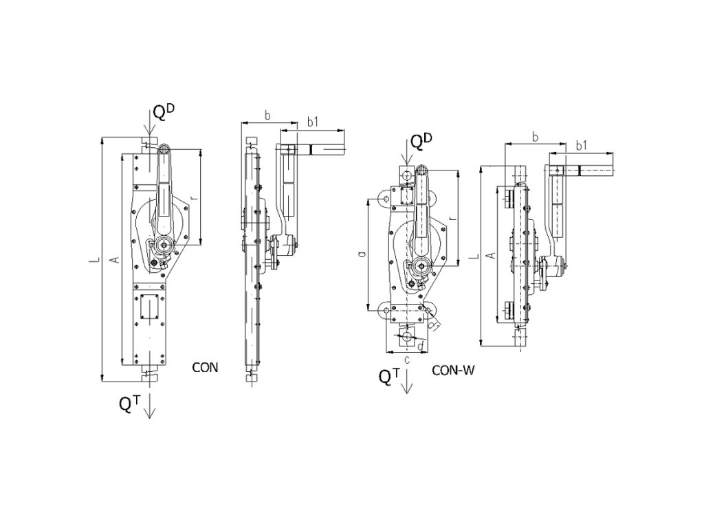
Modifikace hřebenového zvedáku Brano pro kontejnery – 2 varianty a 3 délky hřebenů pro co nejširší možnost využití.
Použití
- pro zabudování do strojních zařízení za účelem zvedání pohyblivé části konstrukce
- příklady použití – pro zvedání vík a střech kontejnerů, manipulace se stavidly vodních nádrží, zvedání česel nebo hradidel v čističkách odpadních vod, napínací stanice lanovek
- mnoho dalších aplikací pro ruční zvedání a spouštění
Vlastnosti
- robustní, jednoduchá konstrukce
- standardně 2 varianty, 3 délky hřebenů
- po konzultaci s výrobcem možnost dodávky prodloužených zdvihů
- základní provedení (označení „CON“) umožňuje flexibilní přizpůsobení zvedáku pro zabudování do konstrukce
- v provedení „nástěnný“ (označení „CON-W“) připraven k montáži pomocí zabudovaných úchytů a otvorů na koncích hřebenové tyče
- přijatelná ovládací síla na ruční klice
Upozornění
Při montáži hřebenového zvedáku v provedení CON a CON-W je nutno dbát na správnou orientaci zvedáku vůči jeho zatížení. Tlakové (tahové) zatížení hřebenové tyče musí působit vždy ve směru od náboje kliky k západkám (schéma – viz níže) nikdy ne naopak.
Při tahovém zatížení však bude zdvih hřebenového zvedáku menší než je uveden v tabulce. U nosnosti 2,5t o 230mm, u nosnosti 5t o 250mm a u nosnosti 10t o 360mm.
Pro dosažení zdvihu pro tahové zatížení dle tabulky je možno zakázkově upravit polohu ozubení na hřebenové tyči.
Technická data
- Typ: 15-00-CON-W
- Nosnost: 2,5 t
- Ovládací zdvih na klice: 380 N
- Zdvih: 850 mm
- Hmotnost: 17,00 kg
Doplňkové parametry
| Kategorie: | Kontejnerové zvedáky |
|---|---|
| Záruka: | 24 měsíců |
| Hmotnost: | 17 kg |
| EAN: | 8590702150285 |
| Hmotnost/kg: | 17 |
| Nosnost/t: | 2,5 |
| Ovládací síla na klice max./N: | 380 |
| Rozměr " c "/mm: | 80 |
| Rozměr "a"/mm: | 320 |
| Rozměr "b"/mm: | 180 |
| Rozměr "b1"/mm: | 200 |
| Rozměr "d"/mm: | 25 |
| Rozměr "d1"/mm: | 13 |
| Rozměr "L"/mm: | 1200 |
| Rozměr "r"/mm: | 250 |
| Rozměr A/mm: | 360 |
| Výrobce/: | BRANO |
| Zdvih/: | 850 |
Buďte první, kdo napíše příspěvek k této položce.
Přidat komentář
